92.
(11) Номер патента: 2163280
(46) Дата публикации: 20.02.2001
(51) МПК7: E 02 D 7/10
(21) Номер заявки: 99113556/03
(22) Дата подачи заявки: 21.06.1999
(71) Заявитель: Институт горного дела СО РАН
(72) Изобретатель: Алексеев С.Е., Курленя М.В., Плавских В.Д., Пятнин Г.А.
(73) Патентообладатель: Институт горного дела СО РАН
(98) Адрес для переписки: 630091, г.Новосибирск-91, Красный пр-т 54, ИГД СО РАН
(54) ПНЕВМАТИЧЕСКОЕ УДАРНОЕ УСТРОЙСТВО
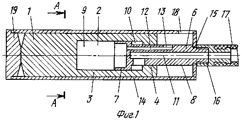
(57) Изобретение относится к области горного дела и строительства и предназначено для ударного погружения в грунт труб и других стержневых элементов. Технический результат - повышение экономичности. Пневматическое ударное устройство включает ударник со ступенчатой полостью и взаимодействующую с ним входящую в эту полость ступенчатую втулку, отделяющую ступенчатую полость от атмосферы подвижным сопряжением с поверхностью ударника и разделяющую ее на камеры рабочего и холостого хода, и питающий канал, выполненный в ступенчатой втулке, ступенчатая полость ударника в рабочей камере выполнена глухой, а подвижное сопряжение с поверхностью ударника, отделяющее ступенчатую полость от атмосферы, выполнено только между поверхностью ударника в меньшей ступени этой полости и поверхностью взаимодействующей с ней ступени втулки. 5 з.п.ф-лы, 3 ил.

|
|