89.
(11) Номер патента: 2176690
(46) Дата публикации: 10.12.2001
(51) МПК7: C 30 B 29/04
(21) Номер заявки: 2000106126/12
(22) Дата подачи заявки: 13.03.2000
(71) Заявитель: Конструкторско-технологический институт монокристаллов СО РАН, ООО "МАИН"
(72) Изобретатель: Чепуров А.И., Федоров И.И., Сонин В.М., Багрянцев Д.Г., Чепуров А.А., Жимулев Е.И., Григораш Ю.М.
(73) Патентообладатель: Конструкторско-технологический институт монокристаллов СО РАН, ООО "МАИН"
(98) Адрес для переписки: 630058, г.Новосибирск, ул. Русская, 43, КТИ МК СО РАН
(54) РЕАКЦИОННАЯ ЯЧЕЙКА МНОГОПУАНСОННОГО АППАРАТА ВЫСОКОГО ДАВЛЕНИЯ ДЛЯ ВЫРАЩИВАНИЯ АСИММЕТРИЧНО ЗОНАЛЬНЫХ МОНОКРИСТАЛЛОВ АЛМАЗА
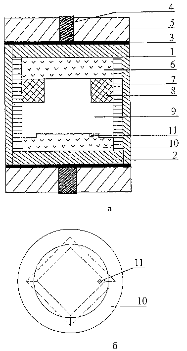
(57) Изобретение относится к выращиванию монокристаллов алмаза на многопуансонных аппаратах типа "БАРС" для изготовления различных видов однокристального алмазного инструмента. Сущность изобретения: реакционная ячейка содержит соосно установленные цилиндрической формы нагревательный элемент с токовводными крышками и токовводными стержнями, выполненными разной толщины, причем диаметр верхнего стержня на 20-25% меньше диаметра нижнего, запирающие ячейку таблетки и внутреннюю изолирующую втулку, в полости которой в наиболее горячей зоне размещен источник углерода и металлорастворитель, причем источник углерода выполнен в виде кольца, у которого внутренний диаметр равен 1/2-1/3 внешнего диаметра. В холодной зоне полости изолирующей втулки расположена подложка, на выступе которой со смещением на 1/3-2/3 диаметра подложки от ее центра расположен кристалл алмаза. Изолирующая внутренняя втулка выполнена из смеси оксидов циркония, магния и хлорида цезия при следующем соотношении компонентов, вес.% Zr02 60-70; Mg0 10-15; CsCl 15-30. Изобретение обеспечивает получение асимметрично зональных кристаллов алмаза весом более 1 карата, у которых дефектная часть локализована с одного края. 3 з.п. ф-лы, 2 ил.

|
|