29.
(11) Номер патента: 2165301
(46) Дата публикации: 20.04.2001
(51) МПК7: B 03 B 9/00
(21) Номер заявки: 99110637/03
(22) Дата подачи заявки: 24.05.1999
(71) Заявитель: Тувинский институт комплексного освоения природных ресурсов СО РАН
(72) Изобретатель: Бурдин Н.В., Чадамба П.В.
(73) Патентообладатель: Тувинский институт комплексного освоения природных ресурсов СО РАН, Бурдин Николай Владимирович
(98) Адрес для переписки: 667007, г.Кызыл, ул. Интернациональная 117-А, ТИКОПР
(54) СПОСОБ ПОЛУЧЕНИЯ КОНЦЕНТРАТА И ТЕХНОЛОГИЧЕСКАЯ СХЕМА ОБОГАЩЕНИЯ ДЛЯ ЕГО ОСУЩЕСТВЛЕНИЯ
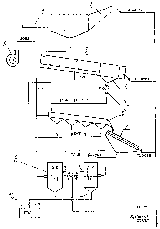
(57) Изобретение относится к способам получения концентрата при обогащении полезных ископаемых и к технологическим схемам обогащения тяжелых минералов и металлов, которые содержатся в мелких классах исходного сырья, например, в рудных месторождениях золота. Способ получения концентрата и технологическая схема обогащения включают проведение мокрого грохочения на вашгерде размывом струей воды от гидромонитора, получение на шлюзе глубокого наполнения, совмещенном с плоским гидравлическим грохотом и имеющем гидроэлеватор промежуточного концентрата, и подготовку пульпы, направляемую на тяжелосредное обогащение в механический лотковый шлюз, установленный с возможностью движения по всем направлениям в горизонтальной плоскости и имеющий в каждом подвижном лотке тяжелую среду, разжижаемую подачей воды из патрубков, расположенных в стенках и днище, и направленных в толщу тяжелой среды, подготовку слива на вибросите, доизвлечение полезных ископаемых в гидроколонне, имеющей тяжелую среду между двумя цилиндрическими поверхностями, разжижаемую водой из патрубков в стенках и днище гидроколонны, отработанную пульпу сливают в центральную трубу гидроколонны с образованием вихревой переливной воронки, полученный концентрат периодически снимают. Изобретение позволяет повысить эффективность улавливания тяжелых тонких частиц. 2 с.п. ф-лы, 1 ил.

|
|