24.
(11) Номер патента: 2171141
(46) Дата публикации: 27.07.2001
(51) МПК7: B 02 C 7/08
(21) Номер заявки: 99112782/03
(22) Дата подачи заявки: 11.06.1999
(71) Заявитель: Институт горного дела Севера СО РАН
(72) Изобретатель: Филиппов В.Е., Матвеев А.И., Яковлев В.Б., Гладышев А.М., Токарев Н.В., Григорьев А.Н., Борисов В.З.
(73) Патентообладатель: Институт горного дела Севера СО РАН
(98) Адрес для переписки: 677018, г.Якутск, пр-кт Ленина 43, Институт горного дела Севера СО РАН
(54) ЦЕНТРОБЕЖНАЯ ДРОБИЛКА ВСТРЕЧНОГО УДАРА ДЛЯ МЕЛКОГО ДРОБЛЕНИЯ
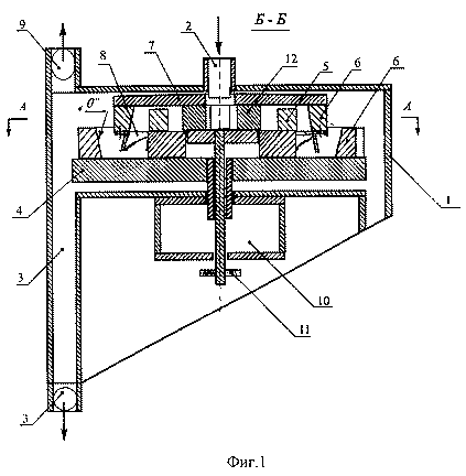
(57) Изобретение предназначено для мелкого дробления горных пород и руд. Центробежная дробилка содержит цилиндрический корпус с верхним загрузочным и нижним разгрузочным отверстиями, два горизонтально и соосно расположенные органы, нижний из которых выполнен в форме двухступенчатого кольцеобразного диска, на краях верхней и нижней ступеней которого установлены разгонные и отбойные молотки, а нижний рабочий орган выполнен в виде кольца, закрепленного через диск к распределителю. По краям кольца расположены рабочие элементы в виде отбойных молотков, к кромкам которых смонтирована кольцевая юбка. Нижняя кромка отбойных молотков верхнего рабочего органа расположена ниже уровня верхней кромки отбойных молотков нижнего рабочего органа. Изобретение позволяет повысить эффективность дробления. 2 ил.

|
|