Изобретения Сибирского отделения РАН за 1999 год - Реферативный указатель
Rambler's Top100
 
1997    1998    1999    2000    2001   

Изобретения Сибирского отделения РАН

Реферативный указатель
патентов за 1999 год

 
145.
(11) 2135980
(46) 27.08.1999
(51) 6 G 01 N 11/16
(21) 97104973/25
(22) 01.04.1997
(71) Институт химии нефти СО РАН
(72) Богословский А.В., Полуэктов М.А., Алтунина Л.К.
(73) Институт химии нефти СО РАН
(54) УСТРОЙСТВО ДЛЯ ИЗМЕРЕНИЯ ВЯЗКОСТИ
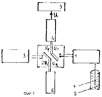
(57) Изобретение относится к технике измерения вязкости и предназначено для контроля структурированных жидкостей в исследовательских лабораториях, в медицине, промышленности. Устройство содержит вибрационный датчик с пробным телом-зондом, погруженным в ячейку, измерительный автогенератор и автогенератор мощности. В устройство также введены имитатор датчика и блок переключения режимов. Блок переключения режимов имеет возможность попеременного синхронного подключения к измерительному автогенератору имитатора или датчика и одновременно к автогенератору мощности датчика или имитатора. Это позволяет увеличить объем получаемой при измерении информации, а именно определить вязкость разрушенной и сформировавшейся структуры. 2 ил.

1 - вибрационный датчик, 2 - блок переключения режимов, 3 - имитатор, 4 - измерительный генератор, 5 - регистратор, 6 - высоковольтный генератор, 7 - пробное тело, 8 - ячейка. 
[ Начало | О библиотеке | Академгородок | Новости | Выставки | Ресурсы | Партнеры | ИнфоЛоция | Поиск | English pages ]
Направляйте пожелания и письма: www@prometeus.nsc.ru
© 1997-2006 Отделение ГПНТБ СО РАН (Новосибирск)
Статистика посещений сервера
Rambler's Top100

Посещение "Указателя изобретений 1999 г." N 4193 с 06.02.2003