70. (11) 2111913 (46) 27.05.98
(51) 6 В 65 G 19/14, Е 21 F 13/08
(21) 96121007/03 (22) 23.10.96
(71) Институт горного дела СО РАН
(72) Кулаков В. Н., Зимонин Л. В., Дьяков Б. В., Ефентьев Г. А
(73) Институт горного дела СО РАН
(54) СКРЕБКОВЫЙ КОНВЕЙЕР
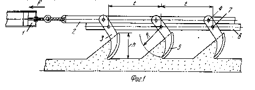
(57) Изобретение относится к горным транспортным машинам и может быть использовано для доставки сыпучих материалов по горным выработкам, в частности доставки угля к углеспускным печам под щитовой крепыо. В скребковом конвейере, включающем тяговый элемент (2) с шарнирно прикрепленными скребками (5), привод (1) возвратно-поступательного действия и систему подвески конвейера под щитовой крепыо, скребки выполняются в виде изогнутых пластин с кронштейнами (3), которыми они шарнирно крепятся к тяговому элементу (2) и шарнирно соединены между собой жесткой тягой (6). Шаг t установки скребков на тяговом элементе больше радиуса R поворота режущей кромки скребка. Величина хода I привода возвратно-поступательного действия равна или больше в целое число раз шага t установки скребков на тяговом элементе (I = kt, где k = 1,2,3... ). Повышается производительность конвейера. 2 з. п. ф-лы, 3 ил.

4,7 - пальцы
|
|