28. (11) 2105602 (46) 27.02.98
(51) 6 В 01 J 8/22
(21) 96111047/25 (22) 04.06.96
(71) Институт катализа им. Г. К. Борескова СО РАН
(72) Семиколенов В. А
(73) Институт катализа им. Г. К. Борескова СО РАН
(54) СПОСОБ ПРОВЕДЕНИЯ КАТАЛИТИЧЕСКОЙ РЕАКЦИИ В МНОГОФАЗНОЙ СИСТЕМЕ И УСТРОЙСТВО ДЛЯ ЕГО ОСУЩЕСТВЛЕНИЯ
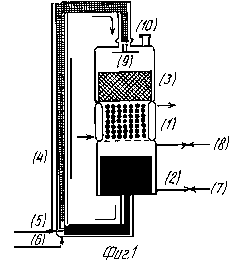
(57) Использование: в устройствах и способах проведения многофазных химических процессов в присутствии твердого катализатора. Сущность изобретения: способ проведения каталитической реакции в многофазной системе включает непрерывную подачу смеси жидких и газообразных реагентов, циркуляцию жидких реагентов через слой твердого катализатора и вывод продуктов из реактора. При этом циркуляцию жидких реагентов через слой катализатора создают потоком газообразных реагентов, вступающих в химическую реакцию на поверхности катализатора. Устройство в виде циркуляционного контура включает реактор (1), содержащий слой катализатора, и линии ввода газообразных реагентов (5), жидких реагентов (6), вывода газообразных реагентов (8) и жидких продуктов (7), расположенные на циркуляционной линии (4), соединяющей выход реактора с входом. Реактор дополнительно снабжен промежуточной емкостью для жидких реагентов и продуктов (2) и загрузочным бункером для подачи твердого реагента (3). 2 с и 4 з. п. ф-лы, 2 ил.

9 - форсунка
10 - заслонка для загрузки твердого реагента
|
|