Изобретения Сибирского отделения РАН за 1998 год - Реферативный указатель
Rambler's Top100
 
1997    1998    1999    2000    2001   

Изобретения Сибирского отделения РАН

Реферативный указатель
патентов за 1998 год

 
256.
(11) 2105437
(46) 20.02.98
(51) 6 Н 05 Н 1/00
(21) 93003271/25
(22) 18.01.93
(71) Институт гидродинамики им. М. А Лаврентьева СО РАН
(72) Зубков П. И., Лукьянчиков Л. А, Тен К. А, Ищенко С. М.
(73) Институт гидродинамики им. М. А Лаврентьева СО РАН
(54) ПЛАЗМОЭРОЗИОННЫЙ РАЗМЫКАТЕЛЬ
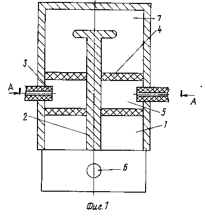
(57) Использование: в электротехнике, в частности в коммутирующих устройствах для выключения импульсных токов. Сущность изобретения: плазмоэрозионный размыкатель содержит вакуумную камеру 1, источник тока б, подключенный к коаксиальным электродам 2, систему радиально расположенных плазменных пушек 3 и шайбу 4 из диэлектрического материала, имеющую радиальные каналы 5, которые расположены соосно с плазменными пушками. Шайба размещена внутри вакуумной камеры между коаксиальными электродами. Каналы в диэлектрической шайбе 4 могут быть охвачены проводником. 1 з. п. ф-лы, 4 ил.

7 - нагрузка 
[ Начало | О библиотеке | Академгородок | Новости | Выставки | Ресурсы | Партнеры | ИнфоЛоция | Поиск | English pages ]
Направляйте пожелания и письма: www@prometeus.nsc.ru
© 1997-2006 Отделение ГПНТБ СО РАН (Новосибирск)
Статистика посещений сервера
Rambler's Top100

Посещение "Указателя изобретений 1998 г." N 4253 c 18.11.2002