Изобретения Сибирского отделения РАН за 1997 год - Реферативный указатель
Rambler's Top100
 
1997    1998    1999    2000    2001   

Изобретения Сибирского отделения РАН

Реферативный указатель
патентов за 1997 год

 
330.
(11) 2091893
(46) 27.09.97
(51) 6 Н 01 Н 39/00
(21) 93002962/07
(22) 18.01.93
(71) Институт гидродинамики им. М. А Лаврентьева СО РАН
(72) Зубков П. И., Лукьянчиков Л. А, Тен К. А, Ищенко С. М.
(73) Институт гидродинамики им. М. А Лаврентьева СО РАН
(54) ВЗРЫВНОЙ РАЗМЫКАТЕЛЬ
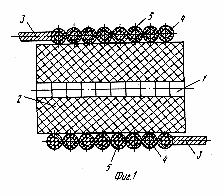
(57) Использование: в электротехнике, а именно в электрических размыкателях, приводимых в действие взрывом, и может быть использовано в энергетике для выключения постоянных, переменных и импульсных токов и в экспериментальной технике для получения высоких напряжений и мощностей. Сущность изобретения заключается в том, что взрывной размыкатель содержит электроды, полый разрушаемый токовод, выполненный в виде спирали, заряд взрывчатого вещества с инициатором. Витки спирали полого разрушаемого токовода выполнены изолированными. При использовании размыкателя рост индуктивности начинается за короткое время, практически скачком, вызывая высокие перенапряжения на начальном этапе размыкания тока; изоляция витков обеспечивает высокую электрическую прочность. 2 ил.



[ Начало | О библиотеке | Академгородок | Новости | Выставки | Ресурсы | Партнеры | ИнфоЛоция | Поиск | English pages ]
Направляйте пожелания и письма: www@prometeus.nsc.ru
© 1997-2006 Отделение ГПНТБ СО РАН (Новосибирск)
Статистика посещений сервера
Rambler's Top100

Посещение "Указателя изобретений 1997 г." N 4213 c 18.11.2002