Изобретения Сибирского отделения РАН за 1997 год - Реферативный указатель
Rambler's Top100
 
1997    1998    1999    2000    2001   

Изобретения Сибирского отделения РАН

Реферативный указатель
патентов за 1997 год

 
299.
(11) 2085841
(46) 27.07.97
(51) 6 G 01 В 21/00
(21) 94038352/28
(22) 11.10.94
(71) Институт лазерной физики СО РАН
(72) Багаев С. Н., Орлов В. А, Рыбушкин А Ю., Семибаламут В. М., Фомин Ю. Н.
(73) Институт лазерной физики СО РАН
(54) ДВУХЧАСТОТНАЯ ИНТЕРФЕРОМЕТРИЧЕСКАЯ СИСТЕМА ДЛЯ ИЗМЕРЕНИЯ ЛИНЕЙНЫХ ПЕРЕМЕЩЕНИЙ
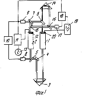
(57) Изобретение относится к лазерной измерительной технике. Техническим результатом использования изобретения является получение прямого сигнала перемещений при одновременном упрощении системы регистрации, повышении ее надежности и уменьшенном ее стоимости. Результат достигается тем, что двухчастотная интерферометрическая система содержащая лазерные источники, уголковый отражатель, связываемый с объектом, два оптических смесителя, два фотоприемника, радиогенератор, электронный блок частотно - фазовый автоматический подстройки, первый и второй входы которого связаны с выходами второго фотоприемника и генератора, а выход - с пьезоэлементом второго лазерного источника, и реверсивный счетчик, два входа которого связаны с выходами первого и второго фотоприемников, снабжены вторым уголковым отражателем, третьим оптическим смесителем, третьим фотоприемником, дополнительным пьезоэлементом, высоковольтным усилителем и фазовым детектором, два его входа соединены с выходами второго и третьего фотоприемников, а выход - со входом высоковольтного усилителя, выход которого соединен с дополнительным пьезоэлементом, связанным с первым лазерным источником, первый уголковый отражатель и оптический смеситель оптически связывают первые выходы лазерных источников с первым фотоприемником и образуют измерительное оптическое плечо интерферометра, второй оптический смеситель оптически связывает вторые выходы лазерных источников с вторым фотоприемником и образуют опорный оптический канал частотно-фазовой привязки, а третий оптический смеситель и второй уголковый отражатель связывают вторые выходы лазерных источников, с третьим фотоприемником и образуют компенсационное оптическое плечо интерферометра. 2 ил.



[ Начало | О библиотеке | Академгородок | Новости | Выставки | Ресурсы | Партнеры | ИнфоЛоция | Поиск | English pages ]
Направляйте пожелания и письма: www@prometeus.nsc.ru
© 1997-2006 Отделение ГПНТБ СО РАН (Новосибирск)
Статистика посещений сервера
Rambler's Top100

Посещение "Указателя изобретений 1997 г." N 4462 c 18.11.2002