Изобретения Сибирского отделения РАН за 1997 год - Реферативный указатель
Rambler's Top100
 
1997    1998    1999    2000    2001   

Изобретения Сибирского отделения РАН

Реферативный указатель
патентов за 1997 год

 
292.
(11) 2095707
(46) 10.11.97
(51) 6 F 26 В 17/12
(21) 95107580/06
(22) 11.05.95
(71) Институт теоретической и прикладной механики СО РАН
(72) Глазнев В. Н.
(73) Институт теоретической и прикладной механики СО РАН
(54) УСТРОЙСТВО ДЛЯ СУШКИ КАПИЛЛЯРНО-ПОРИСТЫХ СЫПУЧИХ МАТЕРИАЛОВ
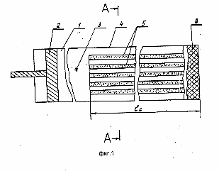
(57) Использование: в технике сушки биомедпрепаратов, продуктов сельского хозяйства, химической, легкой и других отраслей промышленности. Сущность изобретения: излучатель звука содержит поршень с штоком, источник звука и размещенную соосно с ним сушильную камеру, выполненную в виде канала звукопровода. Вдоль канала на расстоянии один от другого вертикально расположены контейнеры с затворами загрузки и регулируемыми затворами выгрузки осушаемого материала, при этом вертикальные стенки контейнеров выполнены из металлической сетки, шаг которой меньше минимального размера частиц осушаемого материала. Длина канала звукопровода многократно превышает его поперечные размеры. В выходном сечении канала установлен поглотитель звука. 2 ил.



[ Начало | О библиотеке | Академгородок | Новости | Выставки | Ресурсы | Партнеры | ИнфоЛоция | Поиск | English pages ]
Направляйте пожелания и письма: www@prometeus.nsc.ru
© 1997-2006 Отделение ГПНТБ СО РАН (Новосибирск)
Статистика посещений сервера
Rambler's Top100

Посещение "Указателя изобретений 1997 г." N 3917 c 18.11.2002