Изобретения Сибирского отделения РАН за 1997 год - Реферативный указатель
Rambler's Top100
 
1997    1998    1999    2000    2001   

Изобретения Сибирского отделения РАН

Реферативный указатель
патентов за 1997 год

 
242.
(11) 2098595
(46) 10.12.97
(51) 6 Е 21 В 25/00
(21) 95120665/03
(22) 01.12.95
(71) Институт горного дела СО РАН
(72) Липин А А, Коновалов А П., Марус В. И
(73) Институт горного дела СО РАН
(54) ДВОЙНОЙ КОЛОНКОВЫЙ СНАРЯД
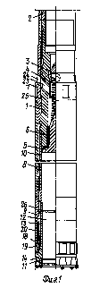
(57) Использование: изобретение относится к устройствам для бурения скважин с отбором керна в геологоразведке и горном деле. Сущность изобретения: устройство работает совместно с пневмо- или гидроударной машиной и содержит наружную трубу разгруженную от осевой силы, в которой размещена керноприемная труба с буровой коронкой. Ударная энергия передается коронке через наружную трубу. Керноприемная труба установлена свободно с упором своим верхним торцем в переходник, а нижним в хвостовик буровой коронки, которая соединена подвижно с нижней частью наружной трубы с помощью шлицевого соединения, а осевое перемещение ограничено разрезным пружинным кольцом, охватываемой гайкой, присоединенной к наружной трубе. Шламопроводные пазы забойного торца коронки выполнены расширяющимися во внутрь, причем задняя стенка пазов, относительно направления вращения коронки, направлена тангенциально, а дно пазов наклонено вверх в сторону центрального отверстия коронки. Конструкция снаряда обеспечивает эксплуатационную надежность и эффективность работы за счет легкой разборки-сборки снаряда и сбора керношламового материала со всего диаметра буримой скважины. 1 з. п. ф-лы, 3 ил.



[ Начало | О библиотеке | Академгородок | Новости | Выставки | Ресурсы | Партнеры | ИнфоЛоция | Поиск | English pages ]
Направляйте пожелания и письма: www@prometeus.nsc.ru
© 1997-2006 Отделение ГПНТБ СО РАН (Новосибирск)
Статистика посещений сервера
Rambler's Top100

Посещение "Указателя изобретений 1997 г." N 4062 c 18.11.2002