Изобретения Сибирского отделения РАН за 1997 год - Реферативный указатель
Rambler's Top100
 
1997    1998    1999    2000    2001   

Изобретения Сибирского отделения РАН

Реферативный указатель
патентов за 1997 год

 
233.
(11) 2087629
(46) 20.08.97
(51) 6 Е 02 F 5/30
(21) 93053779/03
(22) 29.11.93
(71) Конструкторско-технологический институт гидроимпульсной техники СО РАН
(72) Коробков В. В., Кулагин Р. А, Ермилов Н. П., Корнев В. М.
(73) Конструкторско-технологический институт гидроимпульсной техники СО РАН
(54) РАБОЧЕЕ ОБОРУДОВАНИЕ ДЛЯ УДАРНОГО РАЗРУШЕНИЯ ТВЕРДЫХ МАТЕРИАЛОВ
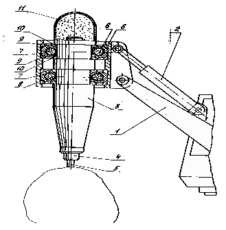
(57) Использование: изобретение относится к устройствам ударного действия, предназначенными для дробления негабаритов и других твердых материалов (горных пород, металлургических шлаков, бетона т. п. ). Сущность изобретения: для повышения долговечности рабочего оборудования и снижения динамических нагрузок демпфирующая подвеска выполнена в виде несущей рамы, охватывающей корпус, а демпфирующие элементы выполнены из упругоэластичного материала, причем форма элементов близка к тороидальной, а несущая рама и корпус рабочего органа имеют средства для взаимодействия с демпфирующими элементами. 2 з. п. ф - лы, 1 ил.



[ Начало | О библиотеке | Академгородок | Новости | Выставки | Ресурсы | Партнеры | ИнфоЛоция | Поиск | English pages ]
Направляйте пожелания и письма: www@prometeus.nsc.ru
© 1997-2006 Отделение ГПНТБ СО РАН (Новосибирск)
Статистика посещений сервера
Rambler's Top100

Посещение "Указателя изобретений 1997 г." N 3839 c 18.11.2002