Изобретения Сибирского отделения РАН за 1997 год - Реферативный указатель
Rambler's Top100
 
1997    1998    1999    2000    2001   

Изобретения Сибирского отделения РАН

Реферативный указатель
патентов за 1997 год

 
230.
(11) 2098568
(46) 10.12.97
(51) 6 Е 02 F 5/18
(21) 94006653/28
(22) 23.02.94
(71) Институт горного дела СО РАН
(72) Ткач Х. Б., Шер Е. Н., Трубицын В. В., Прасолов А В.
(73) Институт горного дела СО РАН
(54) СТЕНД ДЛЯ ОПРЕДЕЛЕНИЯ ПАРАМЕТРОВ РАБОЧЕГО ЦИКЛА ПНЕВМОПРОБОЙНИКА
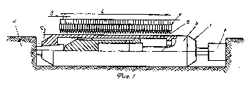
(57) Использование: испытания пневматических машин ударного действия. Сущность: стенд для определения параметров цикла пневмопробойника содержит станину для закрепления испытуемого пневмопробойника, датчики контроля перемещения ударника, установленные на заданном расстоянии друг относительно друга, и блок регистрации временных интервалов. Датчики выполнены в виде системы магнитных головок. Расстояние между крайними магнитными головками превышает величину максимально возможного нерабочего перемещения ударника. Магнитные головки могут быть размещены на четырех участках. На основании могут быть выполнены упоры, а магнитные головки размещены между этими упорами. 2 з. п. ф-лы, 3 ил.



[ Начало | О библиотеке | Академгородок | Новости | Выставки | Ресурсы | Партнеры | ИнфоЛоция | Поиск | English pages ]
Направляйте пожелания и письма: www@prometeus.nsc.ru
© 1997-2006 Отделение ГПНТБ СО РАН (Новосибирск)
Статистика посещений сервера
Rambler's Top100

Посещение "Указателя изобретений 1997 г." N 3763 c 18.11.2002