173.
(11) Patent number: 2149487 (46) Date of publication: 20.05.2000 (51) Int. Cl.7: H 01 S 3/0953, 3/22 (21) Application number: 98113259/28 (22) Application date: 02.07.1998 (71) Applicant:
Institut teoreticheskoj i prikladnoj mekhaniki SO RAN,
Zakrytoe aktsionernoe obshchestvo nauchno-proizvodstvennoe predprijatie "Luga"
(72) Inventor:
Mal'kov V.M.,
Maljavin V.P.,
Feofilaktov V.A.,
Drozdov P.A.
(73) Proprietor:
Institut teoreticheskoj i prikladnoj mekhaniki SO RAN,
Zakrytoe aktsionernoe obshchestvo nauchno-proizvodstvennoe predprijatie "Luga"
(98) Mail address:
630090, g.Novosibirsk, ul. Institutskaja 4/1, ITPM SO RAN, patentnyj otde (54) NOZZLE UNIT OF GAS-DYNAMIC LASER (57)
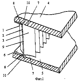
FIELD: quantum electronics. SUBSTANCE: nozzle unit is, essentially, a number of nozzle vanes forming set of two-dimensional shaped nozzles placed in nozzle box. Box walls form top and bottom flat surfaces of nozzles incorporating subsonic and supersonic parts; sectional area of subsonic channel of each nozzle is narrower than that of supersonic one. Transition from subsonic to supersonic part is effected through step. Extreme edge of step is located in critical sectional area of nozzle and is not beyond its front edge. Cavity is provided in supersonic flow area between shaped walls of nozzle. Front edge of cavity is aligned with that of nozzle critical sectional area. EFFECT: reduced divergence of laser beam. 3 dwg

|
|