248.
(11) 2081314
(46) 10.06.97
(51) 6 Е 21 С 37/06, 37/02
(21) 94044685/03
(22) 19.12.94
(71) Институт горного дела СО РАН
(72) Кю Н. Г, Чернов О. И., Шепелев Л. Н.
(73) Институт горного дела СО РАН
(54) УСТРОЙСТВО ДЛЯ ОБРАЗОВАНИЯ НАПРАВЛЕННЫХ ТРЕЩИН В СКВАЖИНАХ
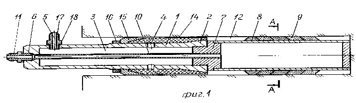
(57) Изобретение относится к горному делу и может быть использовано для образования трещин в скважинах с целью дегазации угольных и соляных пластов, отделения блоков от массивов, добычи ценного кристаллического сырья и строительного камня. Оно позволяет повысить эффективность образования трещин путем одновременного воздействия на горную породу клиньями и гидростатическим давлением. Для этого в корпус с кольцевым коническим выступом, центральным каналом подвода и радиальными отверстиями для выхода рабочей жидкости, отверстием для подачи рабочей жидкости и отверстием на торце ввинчена переходная втулка, к которой прикреплена камера с эллиптическим поперечным сечением и из материала с эффектом памяти формы. На поверхности камеры в плоскости большой оси ее поперечного сечения закреплены клинья. К камере подсоединена трубка, которая пропущена через полость корпуса вдоль его оси и подвешена к штуцеру, ввинченному в отверстие. На корпус насажена эластичная трубка, прижатая с одного конца к корпусу втулкой с внутренней конической поверхностью посредством гайки и другим концом прилегающая к кольцевому коническому выступу. Устройство снабжено штуцером с прокладкой. Устройство устанавливают в скважине на требуемой глубине и с заданной ориентацией. Через штуцер подают высоковязкую рабочую жидкость, в результате чего образуется направленная трещина. 3 з. п. ф-лы. 3 ил.

|